Текущее время: 09 май 2026 15:47

Часовой пояс: UTC + 3 часа




Начать новую тему Ответить на тему  [ Сообщений: 35 ]  На страницу 1, 2, 3  След.
Автор Сообщение
 Заголовок сообщения: Электрика,
СообщениеДобавлено: 30 ноя 2011 09:56 
Не в сети

Зарегистрирован: 24 фев 2009 19:21
Сообщения: 5906
Откуда: г. Королёв МО
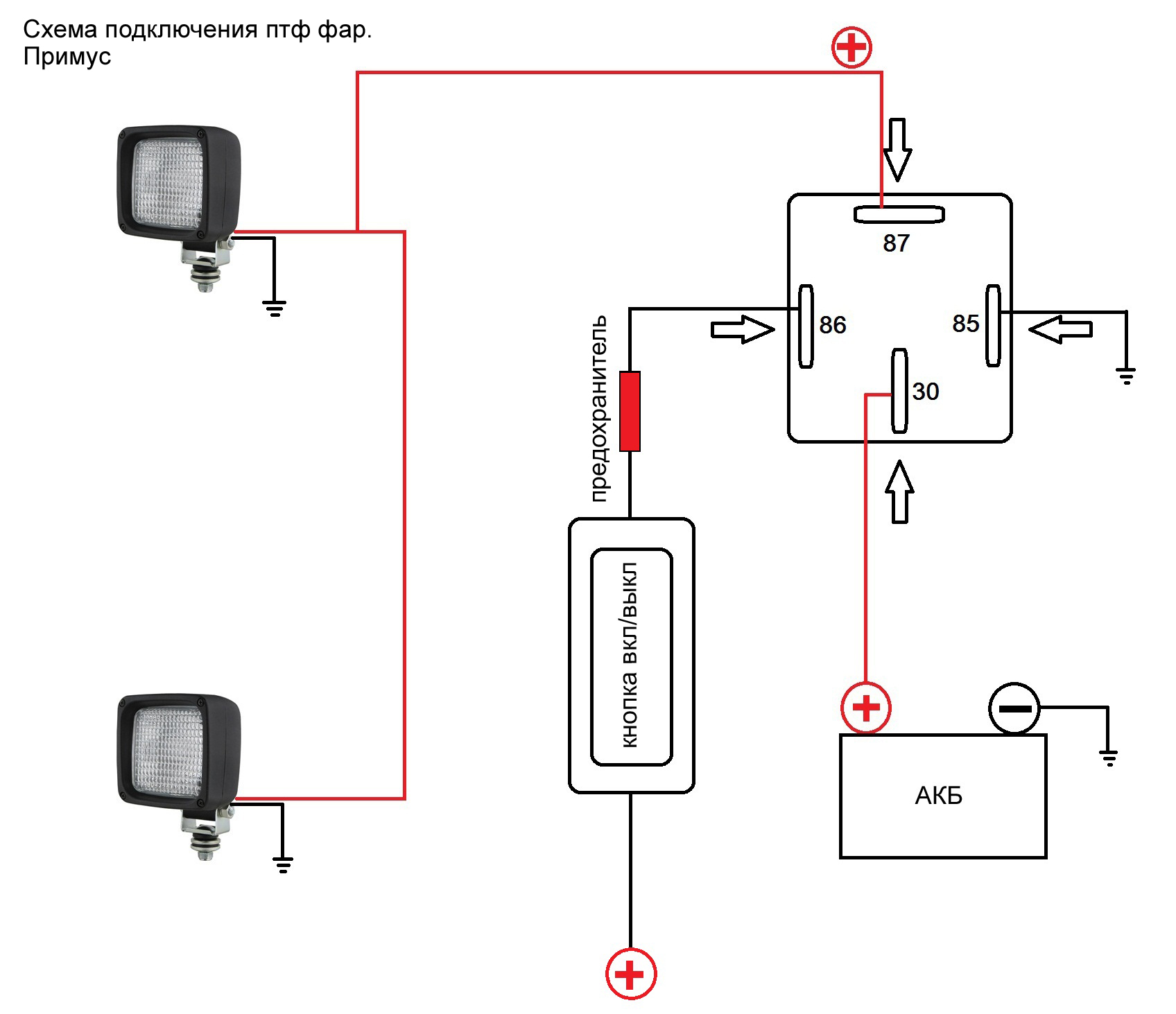
начал Я себе подключать разные приблуды, все очень просто :occasion14:
Вложение:
 подкл птф.jpg
подкл птф.jpg [ 375.8 Кб | Просмотров: 30771 ]

пы сы: между 30 клемой ставьте предохранитель который идет на "АКБ"

_________________
Изображение
Нет того, что человек не может, есть то, чего он недостаточно хочет!!!


Вернуться к началу
 Профиль Отправить email  
 
 Заголовок сообщения: Re: Электрика,
СообщениеДобавлено: 30 ноя 2011 10:30 
Не в сети
Аватара пользователя

Зарегистрирован: 26 окт 2009 12:33
Сообщения: 2330
а записаться к тебе мона? хочу тоже фары! :D
ибо вера в электриков угасла....вчера пересал(именно перессал) работать моторчик в бачке омывателя..я поехал в сервис..
думаю вопрос три копейки и пять минут...
так мене держали два часа..припояли проводок шо отвалился и сняли стружку в 3000р!!! :shock: мать их...
занал ба сам покапался...тока паяльник у отдолжыл бы у запасливого Олега... :lol:

_________________
ххххххххххххххххххххххххххххххххххххххххххххххххххххххххххххххххххххххххххххххххххххххххххххххххххххххххххххххх
Мы все умрем! Ваш Доктор.


Вернуться к началу
 Профиль  
 
 Заголовок сообщения: Re: Электрика,
СообщениеДобавлено: 30 ноя 2011 11:55 
Не в сети
Аватара пользователя

Зарегистрирован: 09 фев 2011 15:15
Сообщения: 1002
Откуда: Планета Земля
Андрей, а для твоего Н2 выпускались неплохие штатные фары доп света на крышу. Правда установка не бюджетно стоила в сервисе, но смотрелось супер.

_________________
Шаман - это карма
Zoom-zoom пикап


Вернуться к началу
 Профиль Отправить email  
 
 Заголовок сообщения: Re: Электрика,
СообщениеДобавлено: 30 ноя 2011 18:26 
Не в сети
Аватара пользователя

Зарегистрирован: 10 ноя 2009 07:33
Сообщения: 1174
Откуда: столько веселья, если у тебя Лендровер?
дану на..
азс рулит
себе буду все переделывать.(

_________________
также: You can go fast i can go anywhere.)))
www.podrezkov.com


Вернуться к началу
 Профиль Отправить email  
 
 Заголовок сообщения: Re: Электрика,
СообщениеДобавлено: 30 ноя 2011 20:21 
Не в сети
Аватара пользователя

Зарегистрирован: 20 фев 2010 22:40
Сообщения: 716
RussoBalt писал(а):
а записаться к тебе мона? хочу тоже фары! :D
ибо вера в электриков угасла....вчера пересал(именно перессал) работать моторчик в бачке омывателя..я поехал в сервис..
думаю вопрос три копейки и пять минут...
так мене держали два часа..припояли проводок шо отвалился и сняли стружку в 3000р!!! :shock: мать их...
занал ба сам покапался...тока паяльник у отдолжыл бы у запасливого Олега... :lol:


Спокойно :laughing4:
У меня за перегнивший проводок под подкрылком - 5круб взяли и глазом не моргнули. Не официалы, но брендовый сервис.
Боюсь подумать, что бы у официалов встало... :violent1:


Вернуться к началу
 Профиль Отправить email  
 
 Заголовок сообщения: Re: Электрика,
СообщениеДобавлено: 30 ноя 2011 20:27 
Не в сети

Зарегистрирован: 24 фев 2009 19:21
Сообщения: 5906
Откуда: г. Королёв МО
да ладно Вам, Я шь то просто а нэ для брыфынга! :wink:

_________________
Изображение
Нет того, что человек не может, есть то, чего он недостаточно хочет!!!


Вернуться к началу
 Профиль Отправить email  
 
 Заголовок сообщения: Re: Электрика,
СообщениеДобавлено: 30 ноя 2011 21:07 
Не в сети
Аватара пользователя

Зарегистрирован: 10 ноя 2009 07:33
Сообщения: 1174
Откуда: столько веселья, если у тебя Лендровер?
Примус писал(а):
да ладно Вам, Я шь то просто а нэ для брыфынга! :wink:

подумай всёже на счёт азс (автомат защиты сети) - меньше проводов, нет реле..

_________________
также: You can go fast i can go anywhere.)))
www.podrezkov.com


Вернуться к началу
 Профиль Отправить email  
 
 Заголовок сообщения: Re: Электрика,
СообщениеДобавлено: 30 ноя 2011 21:54 
Не в сети

Зарегистрирован: 24 фев 2009 19:21
Сообщения: 5906
Откуда: г. Королёв МО
3WHouse писал(а):
Примус писал(а):
да ладно Вам, Я шь то просто а нэ для брыфынга! :wink:

подумай всёже на счёт азс (автомат защиты сети) - меньше проводов, нет реле..

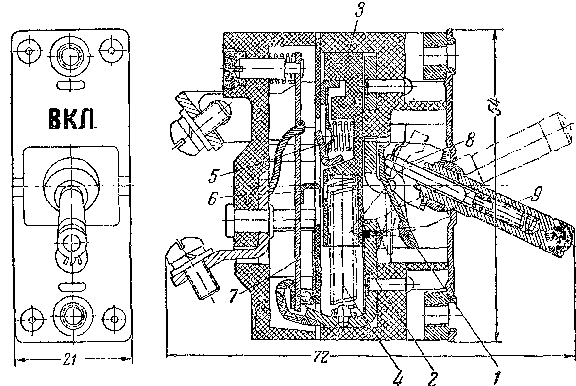
ты про это,
Вложение:
4209967.jpg
4209967.jpg [ 20.18 Кб | Просмотров: 30737 ]

АВТОМАТЫ ЗАЩИТЫ СЕТЕЙ ПОСТОЯННОГО ТОКА НА НОМИНАЛЬНОЕ НАПРЯЖЕНИЕ ДО 24 в
Вложение:
avtomat-196.png
avtomat-196.png [ 39.55 Кб | Просмотров: 30737 ]

Для защиты от сверхтоков цепей, питаемых маломощными источниками постоянного тока напряжением до 24 в, применяются однополюсные автоматы на номинальный постоянный ток от 2 до 50 а. Они выпускаются одного габарита и имеют обратно зависимую от тока выдержку времени при всех токах, больших пограничного, который находится между номинальным током и 120—130% номинального.При токе, равном 200% номинального, выдержка времени у разных исполнений находится в пределах 25 — 80 сек при нагреве с холодного состояния и не менее 5 сек после прогрева номинальным током. Разрывная способность равна 10,00 а при номинальном токе расцепителей до 10 а и 1 500 а для исполнений на большие номинальные токи. Гарантируемый срок службы 10 000 включений.
Характерной особенностью конструкции является отсутствие свободного расцепления, что в некоторых случаях целесообразно, так как дает возможность удержать автомат в замкнутом состоянии, несмотря на наличие сверхтока.
При положении рукоятки «включено» подвижной контакт 1 всегда прижимается к неподвижному 2 с помощью штифта 8, на который действует пружина 9. При этом колодка 3 сжимает пружину 4. Она удерживается благодаря тому, что ее зуб 5 заскочил за зуб 6 термобиметаллической пластины 7. При перегрузках термобиметаллическая пластина выгибается, зубья 5 и 6 выходят из зацепления, и если рукоятка не удерживается во включенном положении, то происходит отключение, так как под влиянием пружины 4 рукоятка переходит в отключенное положение и находящийся внутри ее штифт 8 размыкает контакт.

_________________
Изображение
Нет того, что человек не может, есть то, чего он недостаточно хочет!!!


Вернуться к началу
 Профиль Отправить email  
 
 Заголовок сообщения: Re: Электрика,
СообщениеДобавлено: 30 ноя 2011 22:07 
Не в сети

Зарегистрирован: 24 фев 2009 19:21
Сообщения: 5906
Откуда: г. Королёв МО
Адрес: Химки Мо, 141400, Ленинский проспект, д. 25,
Телефон: (495) 572-02-45, (499) 707-76-61, Факс: (495) 572-02-45,

вот тут много чего есть,
http://msksnab.ru/product_list/group_193051

_________________
Изображение
Нет того, что человек не может, есть то, чего он недостаточно хочет!!!


Вернуться к началу
 Профиль Отправить email  
 
 Заголовок сообщения: Re: Электрика,
СообщениеДобавлено: 30 ноя 2011 22:30 
Не в сети
Аватара пользователя

Зарегистрирован: 10 ноя 2009 07:33
Сообщения: 1174
Откуда: столько веселья, если у тебя Лендровер?
Примус писал(а):
ты про это

да, отличная вешь. но только панель надо под них сделать

_________________
также: You can go fast i can go anywhere.)))
www.podrezkov.com


Вернуться к началу
 Профиль Отправить email  
 
 Заголовок сообщения: Re: Электрика,
СообщениеДобавлено: 03 дек 2011 12:52 
Не в сети

Зарегистрирован: 24 фев 2009 19:21
Сообщения: 5906
Откуда: г. Королёв МО
Примус писал(а):
Адрес: Химки Мо, 141400, Ленинский проспект, д. 25,
Телефон: (495) 572-02-45, (499) 707-76-61, Факс: (495) 572-02-45,

вот тут много чего есть,
http://msksnab.ru/product_list/group_193051


телефон 8-916-670-08-77 зовут "Василий" заказывайте, ценник пока гуманный. :occasion14:

_________________
Изображение
Нет того, что человек не может, есть то, чего он недостаточно хочет!!!


Вернуться к началу
 Профиль Отправить email  
 
 Заголовок сообщения: Re: Электрика,
СообщениеДобавлено: 03 дек 2011 14:23 
Не в сети

Зарегистрирован: 24 фев 2009 19:21
Сообщения: 5906
Откуда: г. Королёв МО
3WHouse писал(а):
дану на..
азс рулит
себе буду все переделывать.(

Виталь а какой ты будешь брать "5-10-15А" :?:

_________________
Изображение
Нет того, что человек не может, есть то, чего он недостаточно хочет!!!


Вернуться к началу
 Профиль Отправить email  
 
 Заголовок сообщения: Re: Электрика,
СообщениеДобавлено: 03 дек 2011 14:36 
Не в сети

Зарегистрирован: 24 фев 2009 19:21
Сообщения: 5906
Откуда: г. Королёв МО
АХТУНГ...АХТУНГ...
Вот нарыл интересную хрень на паджеро форуме,

"дистанционное реле размыкатель с уникальными характеристиками"

Дистанционно управляемое поляризованное (изменение состояния вкл/выкл кратковременной подачей напряжения на управляющий контакт) электромагнитное реле на 12V, коммутирующее в зависимости от необходимости либо плюсовую шину либо массу. Долговременный коммутируемый ток 300A, пиковая кратковременная нагрузка 1000A. Реле выполнено в полностью герметичном корпусе небольшого размера 76х30х20мм, весом 90г. Силовые контакты реле позволяют подключить провода сечением вплоть до 50мм2. Реле изготовлено в Германии компанией GRUNER, занимающей лидирующее положение среди производителей поляризованных реле.

Данное реле было разработано по заказу компании Daimler AG и используется в современных автомобилях этой марки для обесточивания машины при транспортировке и в случае аварии.
цена 1000р. для своих 999р. :wink:

Помимо прямого назначения этого реле для выключения массы, либо полного обесточивания и глушения двигателя спортивного авто по требованию техрегламента, есть одна задача (отключение плюсовой шины электрической автомобильной лебёдки), решение которой существующими на рынке аналогами (ЗИЛовские выключатели массы, соленоиды лебёдки, ручные выключатели, сварочные разъёмы и т.д. и т.п.) крайне затруднено либо невозможно в силу конструктивных особенностей аналогов. С помощью реле фирмы GRUNER, данная проблема решается самым правильным и грамотным образом.
Реле находятся в Москве, возможна отправка почтой в другие регионы.
Вопросы можно задать по тел.: +7 916 123 8614 Александр
ссылка: http://www.pajero4x4.ru/bbs/phpBB2/view ... 52&t=66020
Вложение:
333.jpg
333.jpg [ 468 Кб | Просмотров: 30685 ]
Вложение:
444.jpg
444.jpg [ 346.16 Кб | Просмотров: 30685 ]

_________________
Изображение
Нет того, что человек не может, есть то, чего он недостаточно хочет!!!


Вернуться к началу
 Профиль Отправить email  
 
 Заголовок сообщения: Re: Электрика,
СообщениеДобавлено: 03 дек 2011 15:01 
Не в сети
Аватара пользователя

Зарегистрирован: 10 ноя 2009 07:33
Сообщения: 1174
Откуда: столько веселья, если у тебя Лендровер?
Примус писал(а):
Виталь а какой ты будешь брать "5-10-15А" :?:

тк азс работает не только на КЗ, но и на нагрев, то к подключаемой нагрузке надо ввести коэффициент 1.5.
к примеру, на лампочки в сумме 10а, надо брать азс на 15а. вобщем складываем нагрузку и подбираем.)
с ксеноном я доконца не знаю как посчитать, тк рабочее напряжение двух ламп 6а, а ток на разжиге может доходить до 15а.
учитываю, что выключатель может *держать* кратковременное повышение, и попробую использовать 15а

_________________
также: You can go fast i can go anywhere.)))
www.podrezkov.com


Вернуться к началу
 Профиль Отправить email  
 
 Заголовок сообщения: Re: Электрика,
СообщениеДобавлено: 04 дек 2011 20:32 
Не в сети

Зарегистрирован: 24 фев 2009 19:21
Сообщения: 5906
Откуда: г. Королёв МО
Заехал в магаз, спрашиваю у продавца есть Н3 12вольт 55ват ответ, да какие нужны? Я спрашиваю а сколько они ампер? продавец замешкался и ушел в стопор!!! посмотрел все коробочки что где написано так и не сказал что да как,
сам взял посмотреть и правда нигде не пишут,
их надо мерить а у меня нечем,
зы: может кто подскажет сколько ампер (PHILIPS BLUE VISION 12V-55W H3)
Вложение:
.jpg
.jpg [ 19.61 Кб | Просмотров: 30652 ]

_________________
Изображение
Нет того, что человек не может, есть то, чего он недостаточно хочет!!!


Вернуться к началу
 Профиль Отправить email  
 
Показать сообщения за:  Поле сортировки  
Начать новую тему Ответить на тему  [ Сообщений: 35 ]  На страницу 1, 2, 3  След.

Часовой пояс: UTC + 3 часа


Кто сейчас на конференции

Сейчас этот форум просматривают: нет зарегистрированных пользователей и гости: 8


Вы не можете начинать темы
Вы не можете отвечать на сообщения
Вы не можете редактировать свои сообщения
Вы не можете удалять свои сообщения
Вы не можете добавлять вложения

Найти:
Перейти:  
cron
Powered by phpBB © 2000, 2002, 2005, 2007 phpBB Group
Русская поддержка phpBB